Nissan Altima: Fusibles
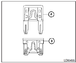
Se usan dos tipos de fusibles. El tipo A se usa en las cajas de fusibles del compartimiento del motor. El tipo B se usa en la caja de fusibles del compartimiento de pasajeros.
Los fusibles tipo A vienen como fusibles de refacción.
Se guardan en la caja de fusibles del compartimiento de pasajeros.
Estos fusibles se pueden instalar en las cajas de fusibles del compartimiento del motor y del compartimiento de pasajeros.

Si se usa un fusible tipo A para reemplazar a uno tipo B, el fusible tipo A no queda al nivel del contenedor de fusibles, tal como aparece en la ilustración. Esto no afecta al desempeño del fusible.
Asegúrese de que el fusible quede firmemente instalado en la caja de fusibles.
Los fusibles tipo B no se pueden instalar en la caja de fusibles que está debajo el cofre. En esta caja, use solo fusibles tipo A.
Servofreno
Compartimiento del motorSistema de control de emisiones (MZR 1.6, SKYACTIV-G 1.5, SKYACTIV-G
2.0)
Este vehículo está equipado con un sistema de control de emisiones (el
convertidor catalítico
es parte de ese sistema) que permite que el vehículo cumpla con las normas de
emisiones de
escape.
ADVERTENCIA
Nunca estacione sobre o próximo a ...
Apoyacabezas delanteros
Para subir el apoyacabezas
Tire del apoyacabezas hacia arriba
hasta la altura deseada.
Para bajar el apoyacabezas
Pulse el botón 2 y acompañe el apoyacabezas
en su bajada hasta la altura
deseada.
Para regular la inclinación
Según el vehículo, separe o a ...
Airbags de cortina
Sistema que contribuye a reforzar la protección
del conductor y de los pasajeros (excepto
al pasajero trasero central) en caso de
choque lateral violento, limitando el riesgo de
traumatismo en el lateral de la cabeza.
Los airbags de cortina están integrados en los
montantes y e ...